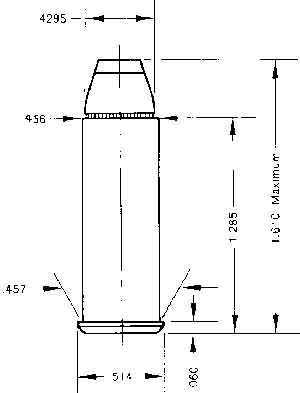
The .44 Magnum
| Nation |
Year |
Max. press. |
| U.S.A. |
1955 |
37800 psi |
"The world's most powerfull handgun" or so it was for twenty years. It
is still the most powerful handgun which can be readily bought, and for
which ammunition and components are commonly available. The new contestants
for the crown are the .454 Cassul, the .44 Supermag, the .45 Winchester
magnum, the .50 AE, and the old .44 Auto mag. Close competetors are the
.451 Detonics, and the .45 Super. The classic .44 is still thought of as
the top gun by most non shooters, thanks to Dirty harry. Among shooters,
this round has lost little of it's prestiege to the newer rounds. A large
measure of this respect is earned because of the established round's, proven
performance. It is also just possible that, in the .44 Magnum, the practicle
limit of power which may be generated and controlled in a hand gun has
been reached. There are some who would argue that the .44 has already passed
this mark and, in some loadings, I would agree. One place where the big
.44 really shines is in the carbine role. Proper handloads can make this
a great short to medium range rifle cartridge. At these ranges, with the
proper loads, this cartridge can rival or even beat some of the "rifle"
rounds out there. At long ranges this advantage disapears. There was a
factory load back in the early eighties that would push a 240 grain bullet
out the muzzle at 1600fps, but that load has been discontinued, and I have
not seen reloader data on it.
Standard Load
| Bullet |
Powder |
Measure |
Velocity |
Energy |
Comment |
| 240gr |
Blue Dot |
15.5gr |
1200fps |
768fp |
typical |
Reloads
| Bullet |
Powder |
Measure |
Velocity |
Energy |
Comment |
| 240gr JTC |
VV N110 |
22.1gr |
1499fps |
1198fp |
ouch |
| 267gr RNL |
VV N110 |
21.7gr |
1444fps |
1237fp |
oh!! my hand |
| 300gr JSP |
VV N110 |
19.3gr |
1290fps |
1109fp |
|
| 180gr JHP |
H110 |
29gr |
1600fps |
1023fp |
boom |
| 180gr JHP |
Blue Dot |
19.5gr |
1500fps |
900fp |
practice load |
| 300gr JSP |
Blue Dot |
14.6gr |
1000fps |
666fp |
practice load |